首页
专利数据库
产业人才
行业动态
产业政策法规
维权援助
个人中心
登录/注册
详情
文本
图像
标题:
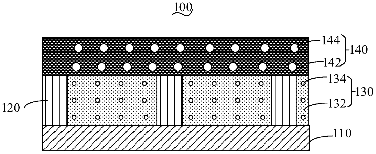
光源模组和液晶显示器
授权日:
1900-01-01
公开(公告)号:
CN110716348A
申请日:
2019-10-25
公开(公告)日:
2020-01-21
当前申请(专利权)人:
业成科技(成都)有限公司 | 业成光电(深圳)有限公司 | 英特盛科技股份有限公司
发明人:
孙宜嶙 | 黄达人
简单同族:
CN110716348A
简单同族成员数量:
1
简单同族被引用专利总数:
0
诉讼案件数:
0
法律状态/事件:
实质审查