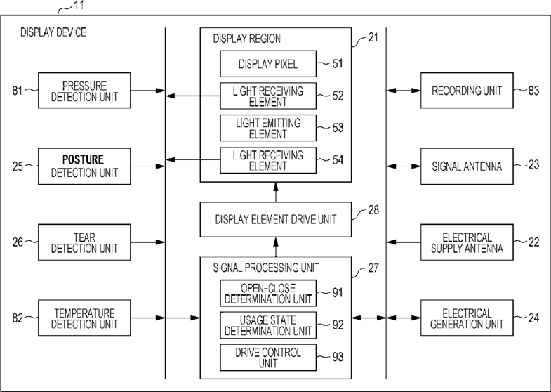
标题:
Detection device for placement in contact with the eye of a user
授权日:
1900-01-01
公开(公告)号:
US20170119311A1
申请日:
2015-06-08
公开(公告)日:
2017-05-04
当前申请(专利权)人:
SONY CORPORATION
发明人:
IWASAKI, MASANORI | HAYAKAWA, KEN | YOSHIMURA, TSUKASA | YAJIMA, MASAKAZU | YAMAGUCHI, NAOTO | TANGE, AKIRA
简单同族:
CN106455973A | CN106455973B | EP3157409A1 | JP2016002353A | KR1020170016359A | US20170119311A1 | WO2015194120A1
简单同族成员数量:
7
简单同族被引用专利总数:
14
诉讼案件数:
0
法律状态/事件:
实质审查 | 权利转移