标题:
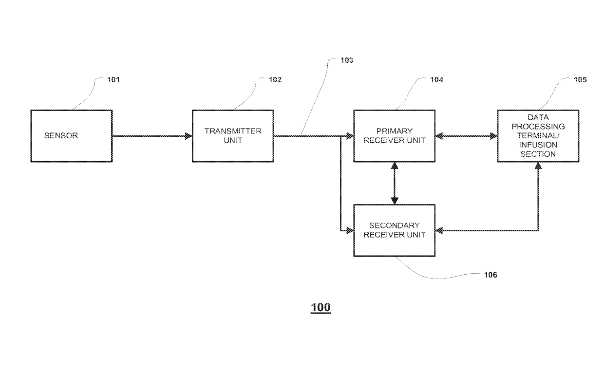
Method and Apparatus for Providing Dynamic Multi-Stage Signal Amplification in a Medical Device
授权日:
1900-01-01
公开(公告)号:
US20190159706A1
申请日:
2019-02-01
公开(公告)日:
2019-05-30
当前申请(专利权)人:
ABBOTT DIABETES CARE INC.
发明人:
FENNELL, MARTIN J.
简单同族:
CA2683721A1 | CA2683721C | EP2146622A2 | EP2146622A4 | EP2146622B1 | US10194846 | US20080252443A1 | US20100295609A1 | US20110224522A1 | US20120190954A1 | US20130237785A1 | US20140171773A1 | US20150126836A1 | US20160317071A1 | US20170354356A1 | US20190159706A1 | US7768387 | US7948369 | US8149103 | US8427298 | US8698615 | US8937540 | US9402584 | US9743866 | WO2008130895A2 | WO2008130895A3
简单同族成员数量:
26
简单同族被引用专利总数:
151
诉讼案件数:
0
法律状态/事件:
未缴年费 | 权利转移