首页
专利数据库
产业人才
行业动态
产业政策法规
维权援助
个人中心
登录/注册
详情
文本
图像
标题:
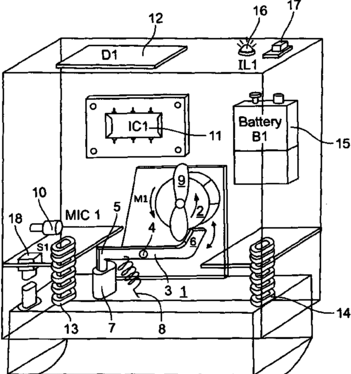
Non-invasive diagnostic device based on audiometric analysis
授权日:
2018-05-08
公开(公告)号:
US9962088
申请日:
2014-05-05
公开(公告)日:
2018-05-08
当前申请(专利权)人:
RAJESH LABORATORIES PVT LTD
发明人:
PALANI, RAJESH
简单同族:
US20160106318A1 | US9962088 | WO2014192017A1
简单同族成员数量:
3
简单同族被引用专利总数:
5
诉讼案件数:
0
法律状态/事件:
授权 | 权利转移