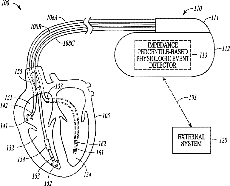
标题:
Methods and apparatus for detecting heart failure event using rank of thoracic impedance
授权日:
1900-01-01
公开(公告)号:
US20150088026A1
申请日:
2014-08-21
公开(公告)日:
2015-03-26
当前申请(专利权)人:
CARDIAC PACEMAKERS, INC.
发明人:
AVERINA, VIKTORIA A. | THAKUR, PRAMODSINGH HIRASINGH | SWEENEY, ROBERT J. | KRUEGER, JONATHAN WALTER
简单同族:
CN105578949A | CN105578949B | EP3048953A1 | US20150088026A1 | US9610026 | WO2015047608A1
简单同族成员数量:
6
简单同族被引用专利总数:
9
诉讼案件数:
0
法律状态/事件:
授权 | 权利转移