首页
专利数据库
产业人才
行业动态
产业政策法规
维权援助
个人中心
登录/注册
详情
文本
图像
标题:
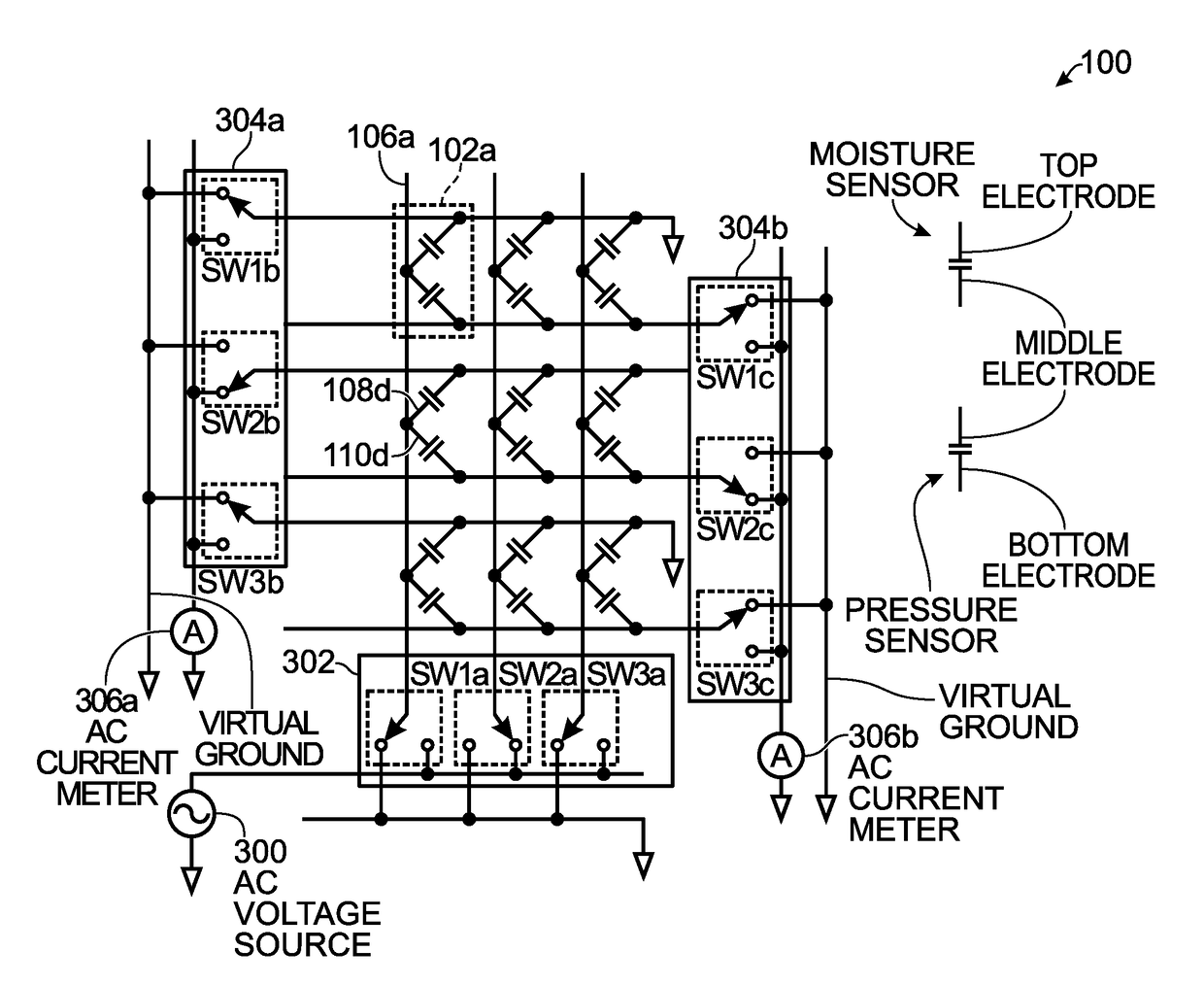
Matrix multi-sensor array
授权日:
2019-02-05
公开(公告)号:
US10194856
申请日:
2016-04-14
公开(公告)日:
2019-02-05
当前申请(专利权)人:
SHARP KABUSHIKI KAISHA
发明人:
AFENTAKIS, THEMISTOKLES | SLEDD, ANNE | JOSHI, SHIVANI
简单同族:
US10194856 | US20170172490A1
简单同族成员数量:
2
简单同族被引用专利总数:
6
诉讼案件数:
0
法律状态/事件:
授权 | 权利转移