首页
专利数据库
产业人才
行业动态
产业政策法规
维权援助
个人中心
登录/注册
详情
文本
图像
标题:
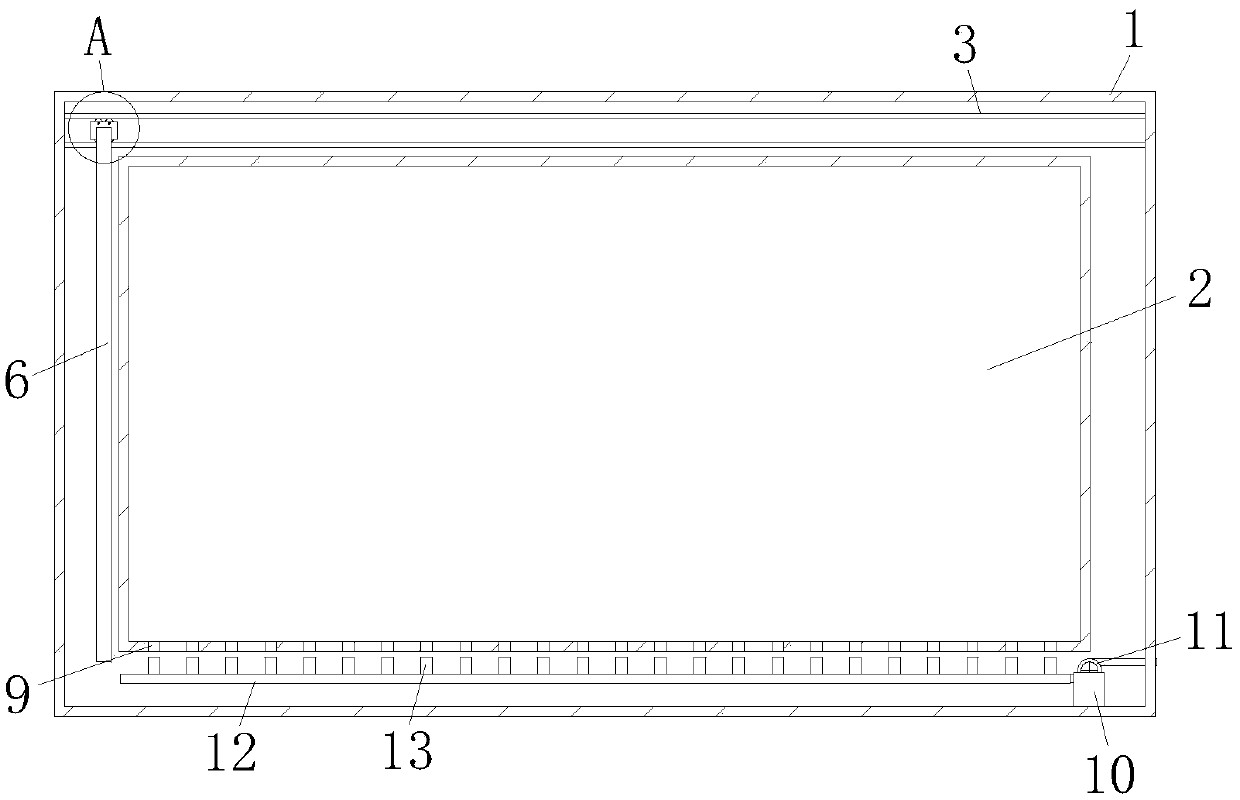
一种全密封触控液晶一体屏
授权日:
1900-01-01
公开(公告)号:
CN109557705A
申请日:
2019-01-25
公开(公告)日:
2019-04-02
当前申请(专利权)人:
葛成燕
发明人:
葛成燕 | 吴国良 | 王本勋
简单同族:
CN109557705A
简单同族成员数量:
1
简单同族被引用专利总数:
0
诉讼案件数:
0
法律状态/事件:
实质审查