首页
专利数据库
产业人才
行业动态
产业政策法规
维权援助
个人中心
登录/注册
详情
文本
图像
标题:
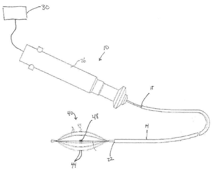
Cardiac mapping catheter
授权日:
1900-01-01
公开(公告)号:
US20170296084A1
申请日:
2015-09-18
公开(公告)日:
2017-10-19
当前申请(专利权)人:
UNIVERSITY OF UTAH RESEARCH FOUNDATION
发明人:
BLAUER, JOSHUA JACOB EVANS | SWENSON, DARRELL J.
简单同族:
US20170296084A1 | WO2016044687A1
简单同族成员数量:
2
简单同族被引用专利总数:
10
诉讼案件数:
0
法律状态/事件:
撤回