首页
专利数据库
产业人才
行业动态
产业政策法规
维权援助
个人中心
登录/注册
详情
文本
图像
标题:
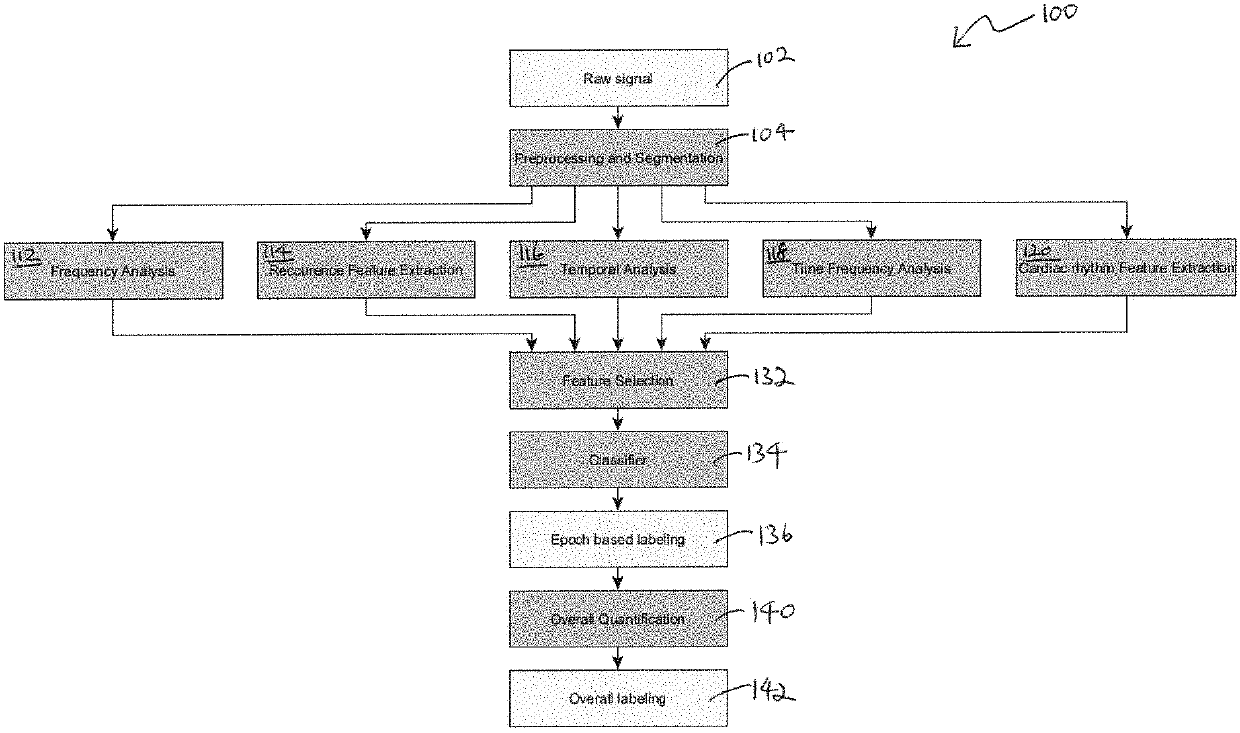
Feature selection for cardiac arrhythmia classification and screening
授权日:
1900-01-01
公开(公告)号:
US20200138306A1
申请日:
2019-11-01
公开(公告)日:
2020-05-07
当前申请(专利权)人:
SAMSUNG ELECTRONICS CO., LTD.
发明人:
LI, YELEI | SUI, XIN
简单同族:
US20200138306A1
简单同族成员数量:
1
简单同族被引用专利总数:
0
诉讼案件数:
0
法律状态/事件:
公开 | 权利转移