首页
专利数据库
产业人才
行业动态
产业政策法规
维权援助
个人中心
登录/注册
详情
文本
图像
标题:
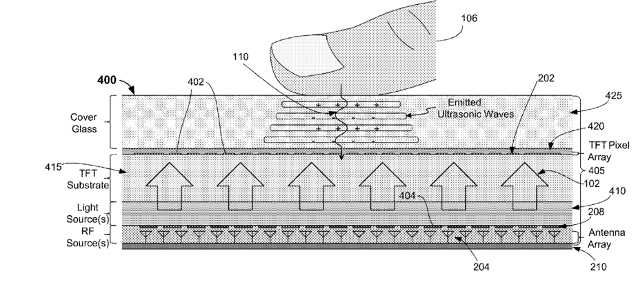
Layered sensing including rf-acoustic imaging
授权日:
1900-01-01
公开(公告)号:
US20180055369A1
申请日:
2016-08-31
公开(公告)日:
2018-03-01
当前申请(专利权)人:
QUALCOMM INCORPORATED
发明人:
BURNS, DAVID WILLIAM | GRIFFITHS, JONATHAN CHARLES | LU, YIPENG
简单同族:
CN109640792A | TW201813333A | US20180055369A1 | WO2018044393A1
简单同族成员数量:
4
简单同族被引用专利总数:
9
诉讼案件数:
0
法律状态/事件:
实质审查 | 权利转移