首页
专利数据库
产业人才
行业动态
产业政策法规
维权援助
个人中心
登录/注册
详情
文本
图像
标题:
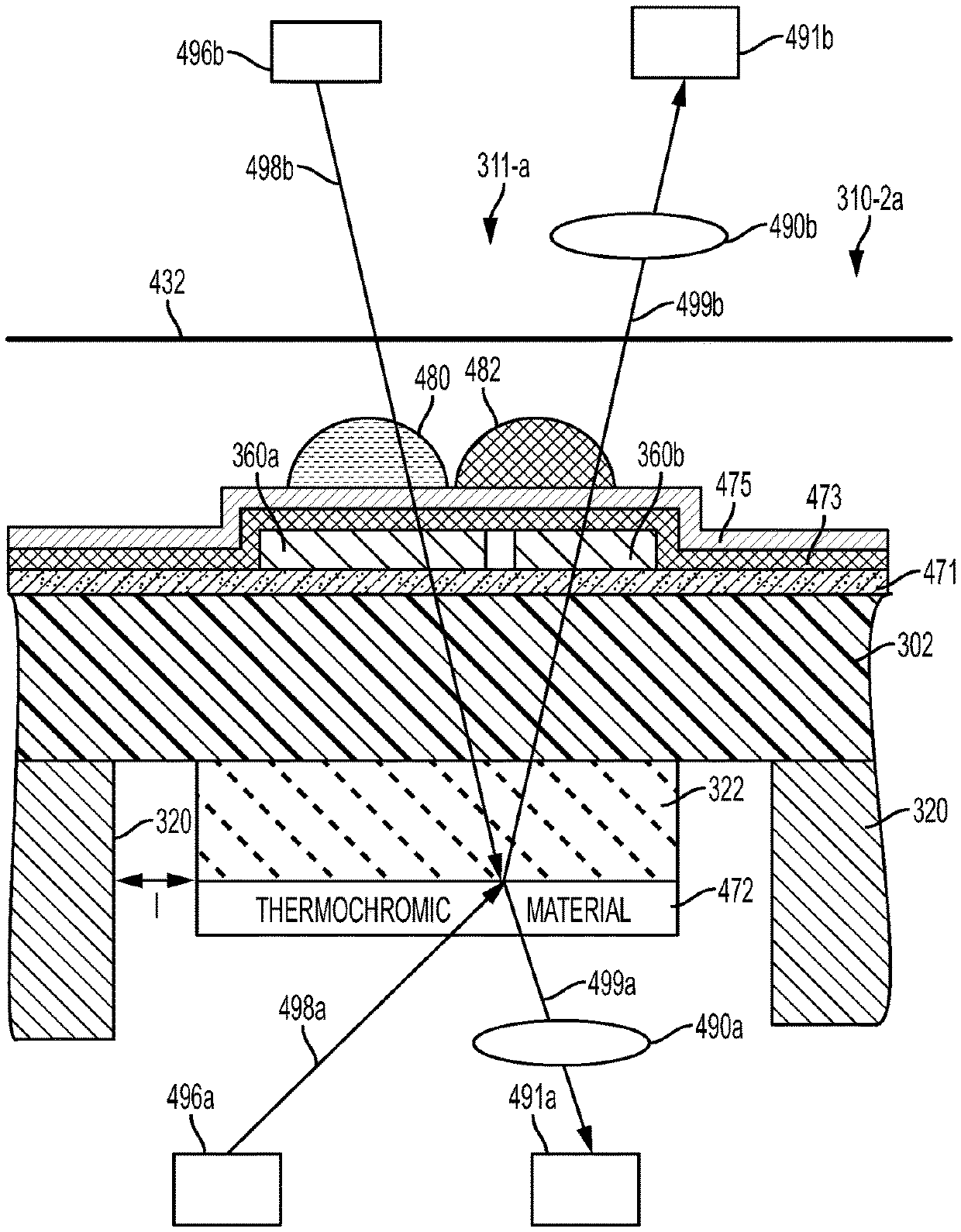
Thermochromic sensing for nanocalorimetry
授权日:
2020-03-24
公开(公告)号:
US10598554
申请日:
2015-12-30
公开(公告)日:
2020-03-24
当前申请(专利权)人:
PALO ALTO RESEARCH CENTER INCORPORATED
发明人:
KIESEL, PETER | MARTINI, JOERG | RECHT, MICHAEL I.
简单同族:
US10598554 | US20170191881A1 | US20200191663A1
简单同族成员数量:
3
简单同族被引用专利总数:
0
诉讼案件数:
0
法律状态/事件:
授权 | 权利转移