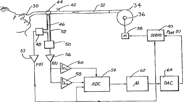
标题:
Administration of CPAP treatment pressure in presence of apnea
授权日:
2016-12-27
公开(公告)号:
US9526855
申请日:
2014-02-24
公开(公告)日:
2016-12-27
当前申请(专利权)人:
RESMED PTY LTD
发明人:
BERTHON-JONES, MICHAEL | FARRUGIA, STEVEN PAUL
简单同族:
AT280606T | AT322301T | AU1998091392A1 | AU1999012185A1 | AU730844B2 | AU736723B2 | DE69827291D1 | DE69827291T2 | DE69834148D1 | DE69834148T2 | EP1028769A1 | EP1028769A4 | EP1028769B1 | EP1502618A1 | EP1502618B1 | JP2001522662A | JP3580776B2 | NZ504595A | NZ504595B | US20030062044A1 | US20050076910A1 | US20060021618A1 | US20090038617A1 | US20120227740A1 | US20140166014A1 | US6367474 | US6502572 | US6817361 | US6988498 | US8220457 | US8511307 | US8684000 | US9526855 | WO1999024099A1
简单同族成员数量:
34
简单同族被引用专利总数:
454
诉讼案件数:
0
法律状态/事件:
期限届满 | 权利转移