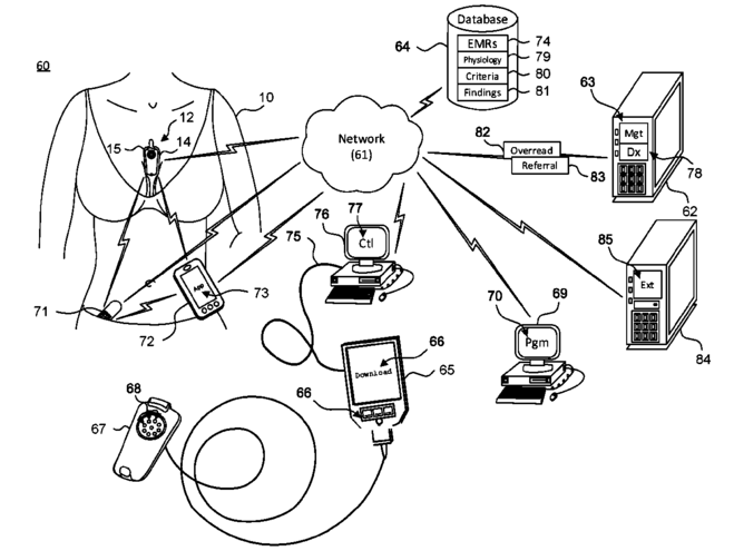
标题:
Health Monitoring Apparatus For Initiating A Treatment Of A Patient With The Aid Of A Digital Computer
授权日:
1900-01-01
公开(公告)号:
US20180049640A1
申请日:
2017-10-16
公开(公告)日:
2018-02-22
当前申请(专利权)人:
BARDY DIAGNOSTICS, INC.
发明人:
BARDY, GUST H. | BISHAY, JON MIKALSON
简单同族:
US10123703 | US10390700 | US20170095153A1 | US20180049640A1 | US20180220890A1 | US20190076023A1 | US20190380581A1 | US9504423 | US9788722 | US9936875
简单同族成员数量:
10
简单同族被引用专利总数:
10
诉讼案件数:
0
法律状态/事件:
授权