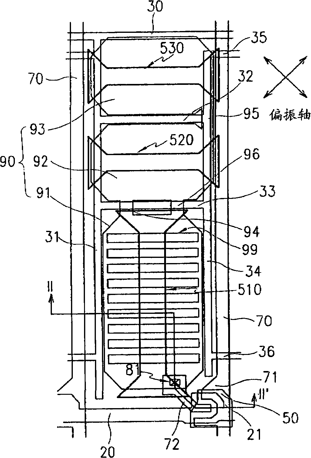
标题:
液晶显示器
授权日:
2012-01-18
公开(公告)号:
CN101487964B
申请日:
2002-06-11
公开(公告)日:
2012-01-18
当前申请(专利权)人:
三星显示有限公司
发明人:
宋长根
简单同族:
AU2002306059A1 | CN101487964A | CN101487964B | CN101893800A | CN101893800B | CN1491371A | CN1491371B | EP1446697A1 | EP1446697A4 | EP2241930A2 | EP2241930A3 | JP2003186038A | JP2003186038A5 | JP2009122714A | JP2010231244A | JP4589595B2 | JP5372858B2 | KR1020030042221A | TWI240103B | US20030095223A1 | US20080018844A1 | US20100265423A1 | US20130021547A1 | US7460191 | US8031286 | US8248566 | WO2003044592A1
简单同族成员数量:
27
简单同族被引用专利总数:
137
诉讼案件数:
0
法律状态/事件:
授权 | 权利转移