首页
专利数据库
产业人才
行业动态
产业政策法规
维权援助
个人中心
登录/注册
详情
文本
图像
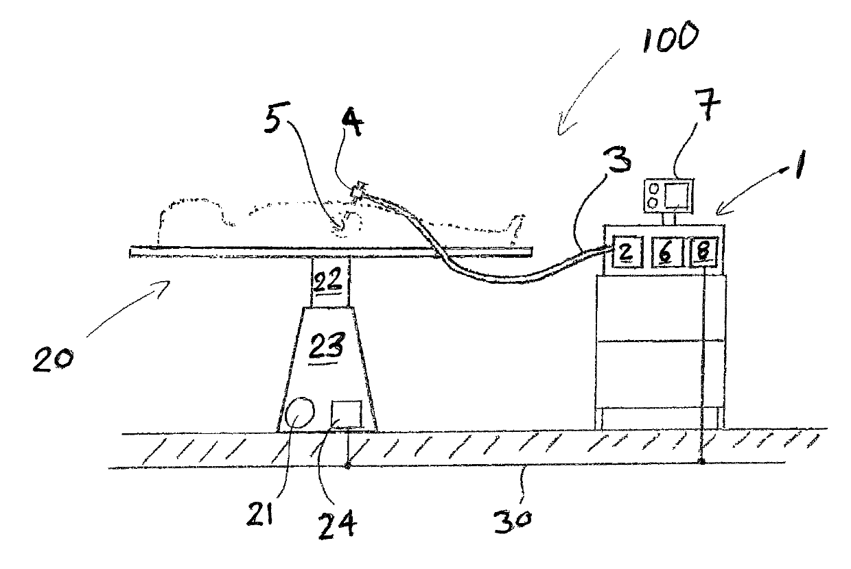
标题:
Pump device
授权日:
2019-12-03
公开(公告)号:
US10493198
申请日:
2015-07-21
公开(公告)日:
2019-12-03
当前申请(专利权)人:
OLYMPUS WINTER & IBE GMBH
发明人:
WOLTER, MICHAEL
简单同族:
DE102014214359A1 | EP3171751A1 | EP3171751B1 | US10493198 | US20170209639A1 | WO2016012432A1
简单同族成员数量:
6
简单同族被引用专利总数:
6
诉讼案件数:
0
法律状态/事件:
授权 | 权利转移