首页
专利数据库
产业人才
行业动态
产业政策法规
维权援助
个人中心
登录/注册
详情
文本
图像
标题:
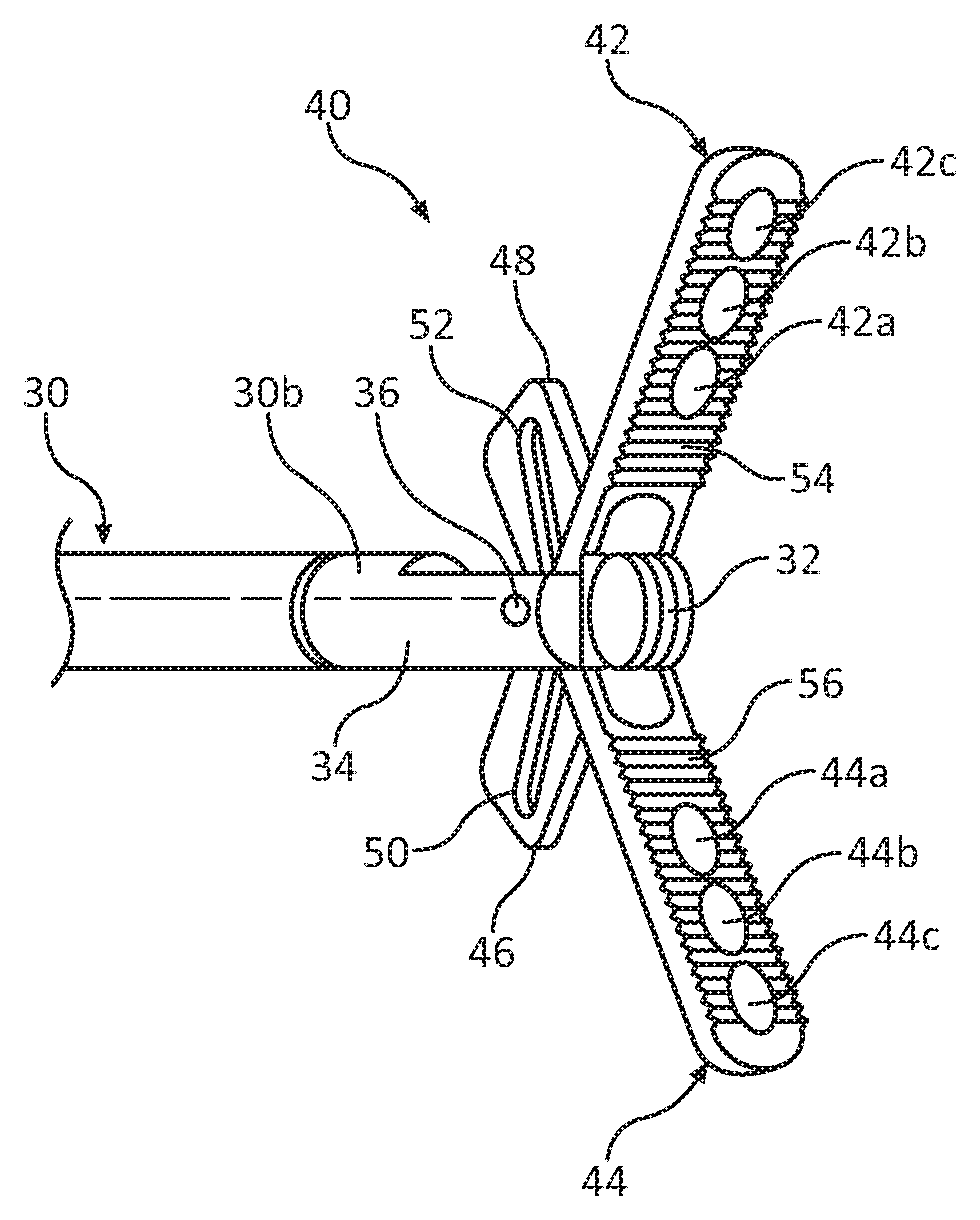
Surgical instruments including sensors
授权日:
2020-04-21
公开(公告)号:
US10624616
申请日:
2016-12-06
公开(公告)日:
2020-04-21
当前申请(专利权)人:
COVIDIEN LP
发明人:
MUKHERJEE, NILAY | MIESSE, ANDREW | RACENET, DAVID C.
简单同族:
AU2016273969A1 | CA2952067A1 | CN107019545A | EP3181040A1 | EP3181040B1 | JP2017113545A | US10624616 | US20170172550A1
简单同族成员数量:
8
简单同族被引用专利总数:
72
诉讼案件数:
0
法律状态/事件:
授权 | 权利转移