首页
专利数据库
产业人才
行业动态
产业政策法规
维权援助
个人中心
登录/注册
详情
文本
图像
标题:
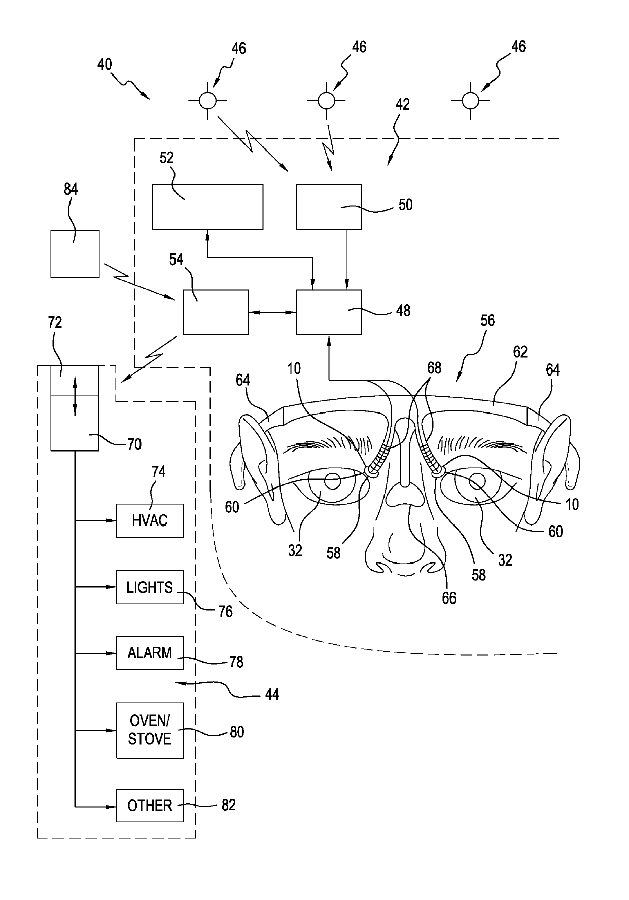
System for controlling an environment of a structure
授权日:
2019-08-20
公开(公告)号:
US10383524
申请日:
2016-10-24
公开(公告)日:
2019-08-20
当前申请(专利权)人:
BRAIN TUNNELGENIX TECHNOLOGIES CORP.
发明人:
ABREU, MARCIO MARC
简单同族:
US10383524 | US20170115020A1 | WO2017070686A1
简单同族成员数量:
3
简单同族被引用专利总数:
0
诉讼案件数:
0
法律状态/事件:
授权 | 权利转移