首页
专利数据库
产业人才
行业动态
产业政策法规
维权援助
个人中心
登录/注册
详情
文本
图像
标题:
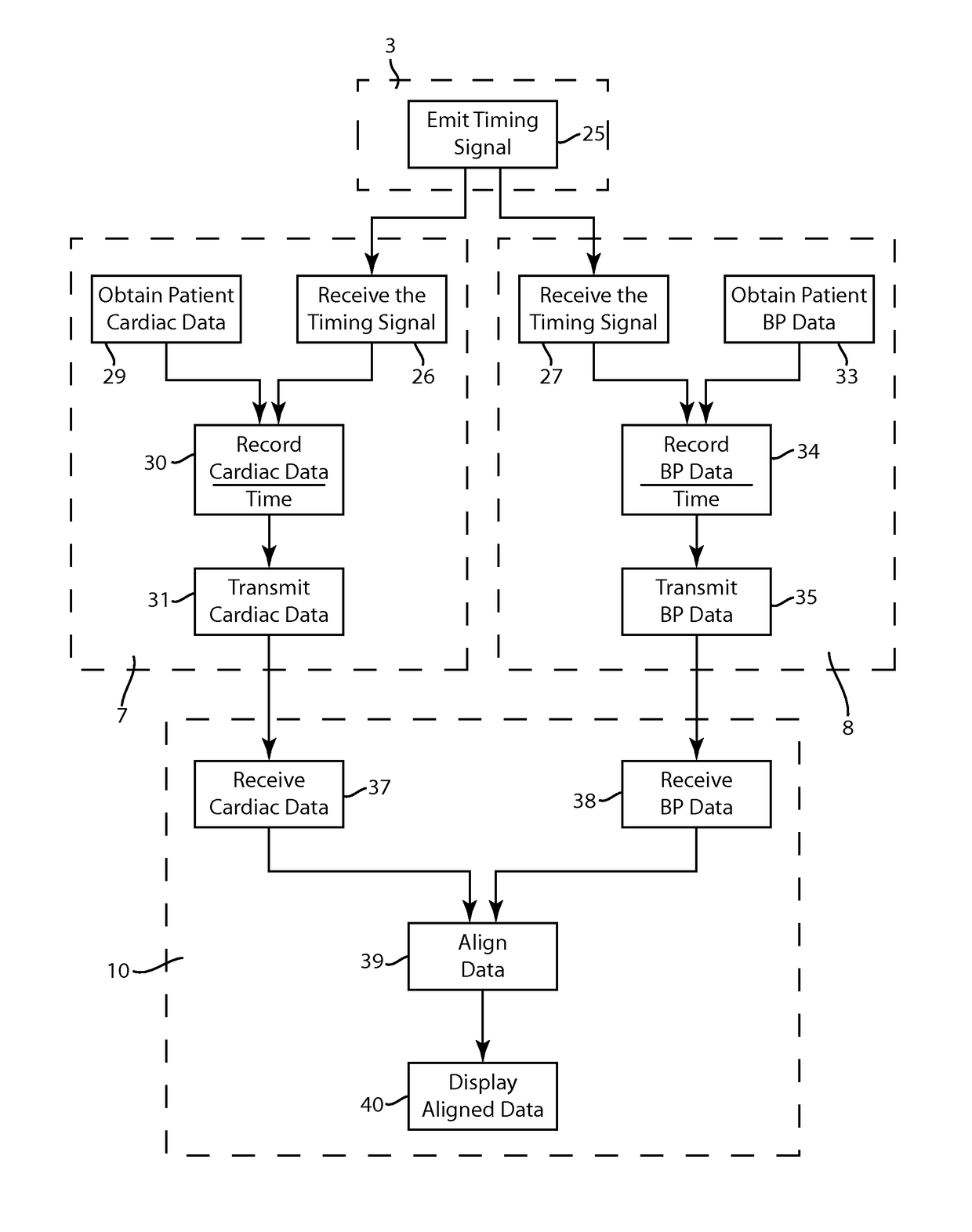
Acquisition sample clock synchronization leveraging a global clocking mechanism in a distributed physiological sensing system
授权日:
2019-03-05
公开(公告)号:
US10219698
申请日:
2013-10-29
公开(公告)日:
2019-03-05
当前申请(专利权)人:
GENERAL ELECTRIC COMPANY
发明人:
GRUBIS, MATTHEW GEORGE
简单同族:
US10219698 | US20150116130A1
简单同族成员数量:
2
简单同族被引用专利总数:
7
诉讼案件数:
0
法律状态/事件:
授权 | 权利转移