首页
专利数据库
产业人才
行业动态
产业政策法规
维权援助
个人中心
登录/注册
详情
文本
图像
标题:
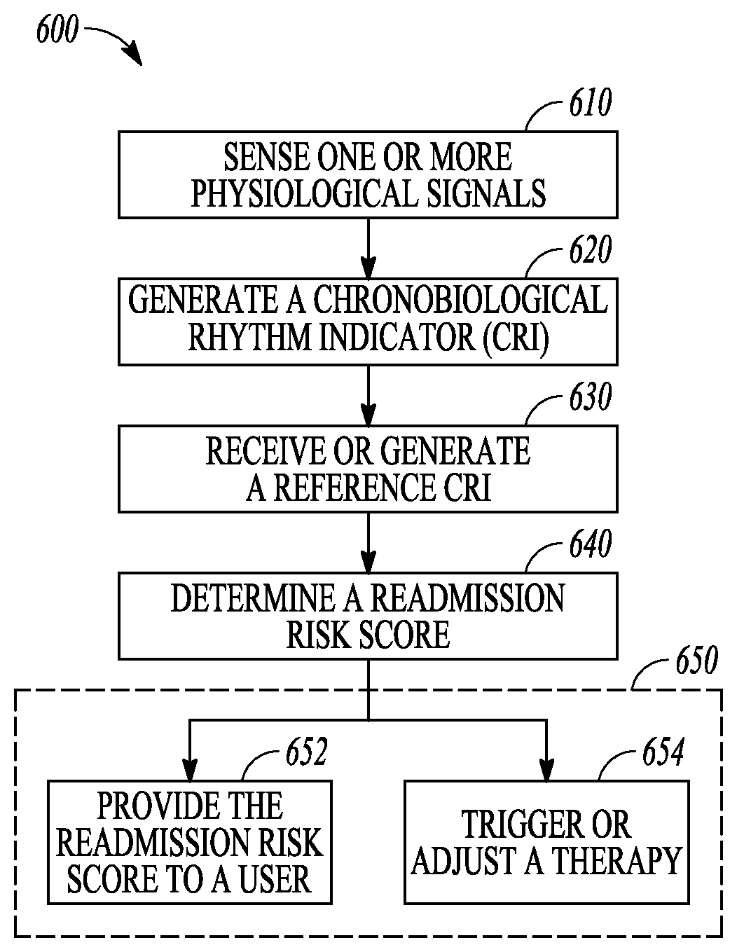
Readmission risk assessment based on chronobiological rhythms
授权日:
1900-01-01
公开(公告)号:
US20200046299A1
申请日:
2019-10-15
公开(公告)日:
2020-02-13
当前申请(专利权)人:
CARDIAC PACEMAKERS, INC.
发明人:
AN, QI | AVERINA, VIKTORIA A. | THOMPSON, JULIE A. | THAKUR, PRAMODSINGH HIRASINGH
简单同族:
US10506987 | US20180008204A1 | US20200046299A1
简单同族成员数量:
3
简单同族被引用专利总数:
0
诉讼案件数:
0
法律状态/事件:
实质审查