首页
专利数据库
产业人才
行业动态
产业政策法规
维权援助
个人中心
登录/注册
详情
文本
图像
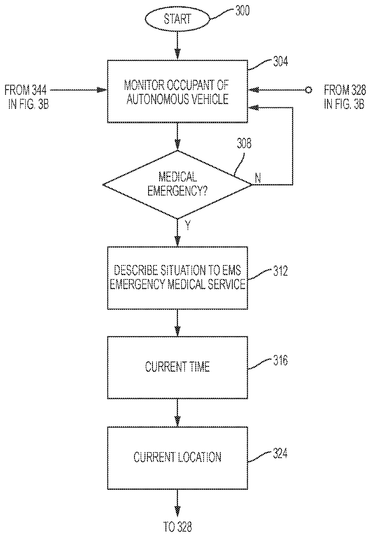
标题:
Autonomous vehicle monitoring
授权日:
1900-01-01
公开(公告)号:
US20190359220A1
申请日:
2018-11-06
公开(公告)日:
2019-11-28
当前申请(专利权)人:
INTERNATIONAL BUSINESS MACHINES CORPORATION
发明人:
WILSON, JOHN D. | ANDERS, KELLEY | FOX, JEREMY R. | RODRIGUEZ BRAVO, CESAR AUGUSTO
简单同族:
US20190359220A1
简单同族成员数量:
1
简单同族被引用专利总数:
0
诉讼案件数:
0
法律状态/事件:
实质审查 | 权利转移