首页
专利数据库
产业人才
行业动态
产业政策法规
维权援助
个人中心
登录/注册
详情
文本
图像
标题:
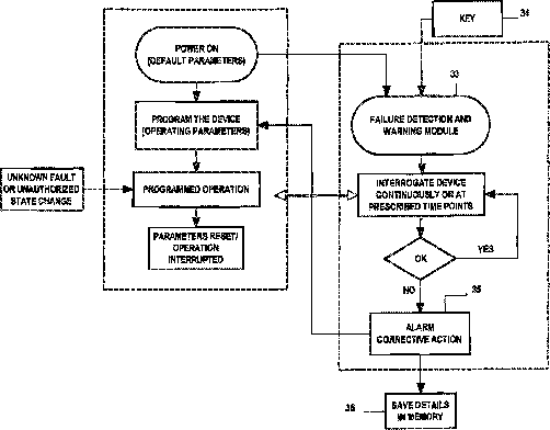
Medical device failure detection and warning system
授权日:
2015-08-04
公开(公告)号:
US9095314
申请日:
2013-08-16
公开(公告)日:
2015-08-04
当前申请(专利权)人:
FLINT HILLS SCIENTIFIC, LLC
发明人:
OSORIO, IVAN | FREI, MARK G. | BHAVARAJU, NARESH C.
简单同族:
US20130338450A1 | US7389144 | US8515538 | US9095314
简单同族成员数量:
4
简单同族被引用专利总数:
108
诉讼案件数:
0
法律状态/事件:
授权 | 权利转移