首页
专利数据库
产业人才
行业动态
产业政策法规
维权援助
个人中心
登录/注册
详情
文本
图像
标题:
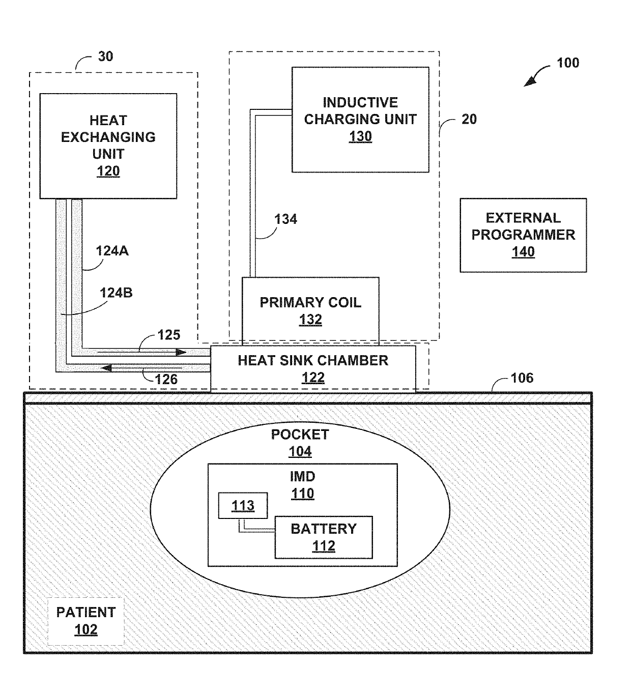
Thermal management for recharge of implantable medical devices
授权日:
2019-04-16
公开(公告)号:
US10258804
申请日:
2016-11-04
公开(公告)日:
2019-04-16
当前申请(专利权)人:
MEDTRONIC, INC.
发明人:
SCOTT, ERIK R. | PARALIKAR, KUNAL
简单同族:
US10258804 | US20180126177A1 | WO2018084978A1
简单同族成员数量:
3
简单同族被引用专利总数:
0
诉讼案件数:
0
法律状态/事件:
授权 | 权利转移