标题:
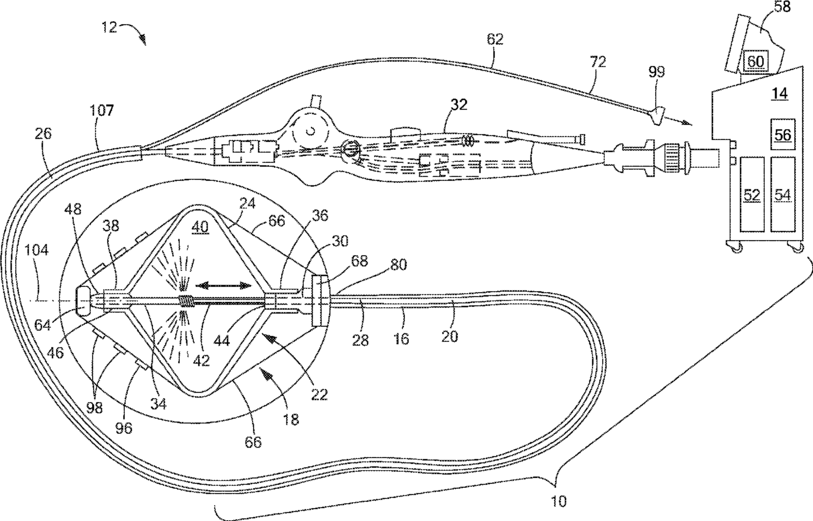
Accessory to allow sensing at balloon interface
授权日:
1900-01-01
公开(公告)号:
US20170156672A1
申请日:
2017-02-16
公开(公告)日:
2017-06-08
当前申请(专利权)人:
MEDTRONIC CRYOCATH LP
发明人:
MIHALIK, TERESA
简单同族:
CA2934105A1 | CA2934105C | CN105960260A | CN105960260B | EP3099370A1 | EP3099370A4 | EP3099370B1 | US10278758 | US20150216580A1 | US20170000362A1 | US20170156672A1 | US20180199978A1 | US9597140 | US9943352 | WO2015113130A1
简单同族成员数量:
15
简单同族被引用专利总数:
4
诉讼案件数:
0
法律状态/事件:
授权 | 权利转移