标题:
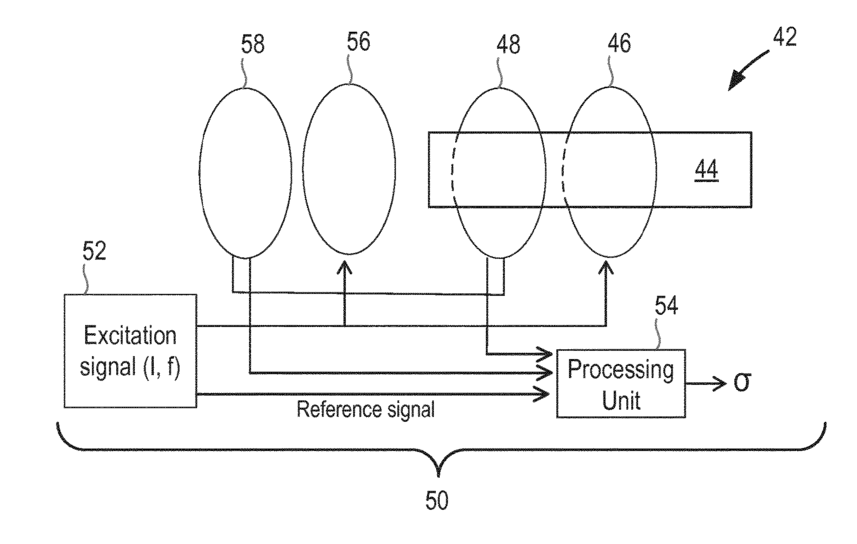
Apparatus and methods that use magnetic induction spectroscopy to monitor tissue fluid content
授权日:
1900-01-01
公开(公告)号:
US20180143150A1
申请日:
2015-05-27
公开(公告)日:
2018-05-24
当前申请(专利权)人:
KONINKLIJKE PHILIPS N.V.
发明人:
BEZEMER, RICK | BONGERS, EDWIN GERARDUS JOHANNUS
简单同族:
CN106413548A | EP3152556A1 | EP3152556B1 | JP2017523822A | JP6535030B2 | US20180143150A1 | WO2015185398A1
简单同族成员数量:
7
简单同族被引用专利总数:
10
诉讼案件数:
0
法律状态/事件:
实质审查 | 权利转移