首页
专利数据库
产业人才
行业动态
产业政策法规
维权援助
个人中心
登录/注册
详情
文本
图像
标题:
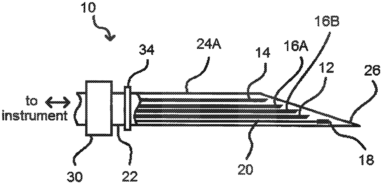
Integrated fiber optic probe for performing image-guided laser induced thermal therapy
授权日:
2020-06-23
公开(公告)号:
US10687895
申请日:
2016-11-07
公开(公告)日:
2020-06-23
当前申请(专利权)人:
THE UNIVERSITY OF AKRON
发明人:
YU, BING
简单同族:
US10687895 | US20170128132A1
简单同族成员数量:
2
简单同族被引用专利总数:
0
诉讼案件数:
0
法律状态/事件:
授权 | 权利转移