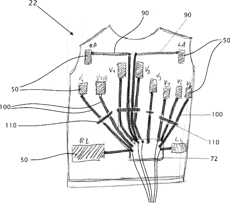
标题:
Elastic conductive stripe and methods of utilizing thereof
授权日:
1900-01-01
公开(公告)号:
US20170014073A1
申请日:
2015-03-05
公开(公告)日:
2017-01-19
当前申请(专利权)人:
HEALTHWATCH LTD.
发明人:
SHOSHANI, BOAZ | AMIR, URI
简单同族:
AU2015228352A1 | CA2942260A1 | CN106102567A | EP3116380A1 | EP3116380A4 | HK1226924A | IL247279A | JP2017512102A | KR1020160131040A | RU2016136721A | RU2016136721A3 | SG11201607189VA | US20170014073A1 | WO2015136521A1
简单同族成员数量:
14
简单同族被引用专利总数:
13
诉讼案件数:
0
法律状态/事件:
撤回 | 权利转移