首页
专利数据库
产业人才
行业动态
产业政策法规
维权援助
个人中心
登录/注册
详情
文本
图像
标题:
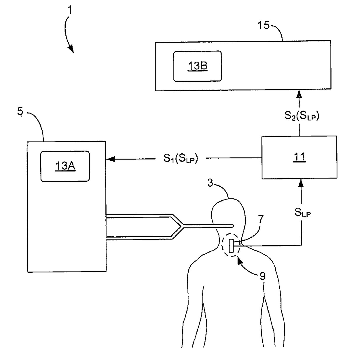
Control of mechanical ventilation based on laryngopharyngeal muscle activity
授权日:
1900-01-01
公开(公告)号:
US20180078721A1
申请日:
2015-03-26
公开(公告)日:
2018-03-22
当前申请(专利权)人:
MAQUET CRITICAL CARE AB
发明人:
JALDE, FREDRIK
简单同族:
CN107427653A | EP3274031A1 | EP3274031B1 | US20180078721A1 | WO2016153406A1
简单同族成员数量:
5
简单同族被引用专利总数:
8
诉讼案件数:
0
法律状态/事件:
实质审查