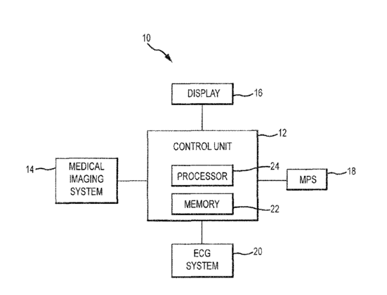
标题:
Representative emulation of organ behavior
授权日:
2017-12-26
公开(公告)号:
US9848832
申请日:
2014-02-24
公开(公告)日:
2017-12-26
当前申请(专利权)人:
ST JUDE MEDICAL INTERNATIONAL HOLDING S.À R.L.
发明人:
OREN, EITAN | SEGEV, KOBI | ROMANO, AVINOAM | KARIV, ITAY | MORE, ROHAN | PELEG, ALEX | IZMIRLI, ALON
简单同族:
US10238348 | US20140243650A1 | US20180228449A1 | US9848832
简单同族成员数量:
4
简单同族被引用专利总数:
4
诉讼案件数:
0
法律状态/事件:
授权 | 权利转移