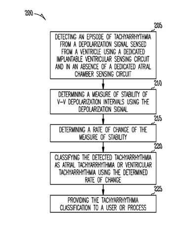
标题:
Methods for detecting atrial tachyarrhythmia in implantable devices without dedicated atrial sensing
授权日:
2017-08-15
公开(公告)号:
US9730604
申请日:
2016-01-27
公开(公告)日:
2017-08-15
当前申请(专利权)人:
CARDIAC PACEMAKERS, INC.
发明人:
LI, DAN | PERSCHBACHER, DAVID L. | DONG, YANTING | STEPHENSON, JULIE
简单同族:
US20100274149A1 | US20160135707A1 | US9510764 | US9730604
简单同族成员数量:
4
简单同族被引用专利总数:
17
诉讼案件数:
0
法律状态/事件:
授权