首页
专利数据库
产业人才
行业动态
产业政策法规
维权援助
个人中心
登录/注册
详情
文本
图像
标题:
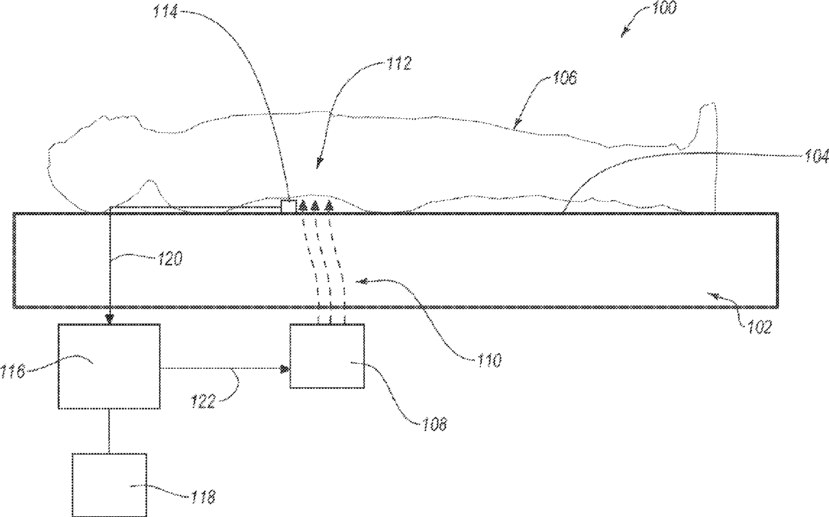
Systems and methods for treating hypothermia
授权日:
1900-01-01
公开(公告)号:
US20170086734A1
申请日:
2015-09-24
公开(公告)日:
2017-03-30
当前申请(专利权)人:
ELWHA LLC
发明人:
HYDE, RODERICK A. | ISHIKAWA, MURIEL Y. | KARE, JORDIN T. | LEUTHARDT, ERIC C. | RIVET, DENNIS J. | WOOD, JR., LOWELL L.
简单同族:
US20170086734A1
简单同族成员数量:
1
简单同族被引用专利总数:
0
诉讼案件数:
0
法律状态/事件:
撤回 | 权利转移