首页
专利数据库
产业人才
行业动态
产业政策法规
维权援助
个人中心
登录/注册
详情
文本
图像
标题:
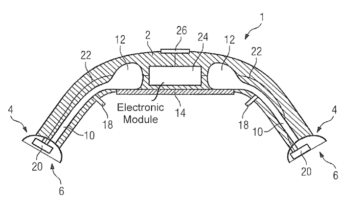
Sensor instrument
授权日:
2017-07-18
公开(公告)号:
US9706936
申请日:
2014-11-18
公开(公告)日:
2017-07-18
当前申请(专利权)人:
SIEMENS HEALTHCARE GMBH
发明人:
HANNEMANN, THILO | HENNING, ANDRE
简单同族:
CN104644154A | CN104644154B | DE102013223465A1 | DE102013223465B4 | US20150141790A1 | US9706936
简单同族成员数量:
6
简单同族被引用专利总数:
5
诉讼案件数:
0
法律状态/事件:
授权 | 权利转移