首页
专利数据库
产业人才
行业动态
产业政策法规
维权援助
个人中心
登录/注册
详情
文本
图像
标题:
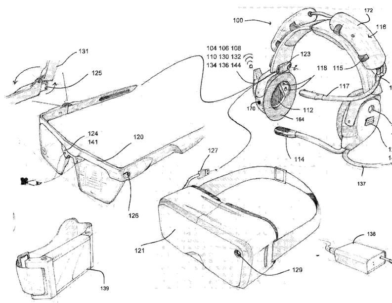
Smart aviation communication headset and peripheral components
授权日:
1900-01-01
公开(公告)号:
US20170324437A1
申请日:
2017-04-24
公开(公告)日:
2017-11-09
当前申请(专利权)人:
SEABECK HOLDINGS, LLC
发明人:
RUTTLER, JAMES J. | MELHEROVA, ZUZANA E.
简单同族:
US10419053 | US10700725 | US20170324437A1 | US20200099411A1
简单同族成员数量:
4
简单同族被引用专利总数:
7
诉讼案件数:
0
法律状态/事件:
授权 | 权利转移