首页
专利数据库
产业人才
行业动态
产业政策法规
维权援助
个人中心
登录/注册
详情
文本
图像
标题:
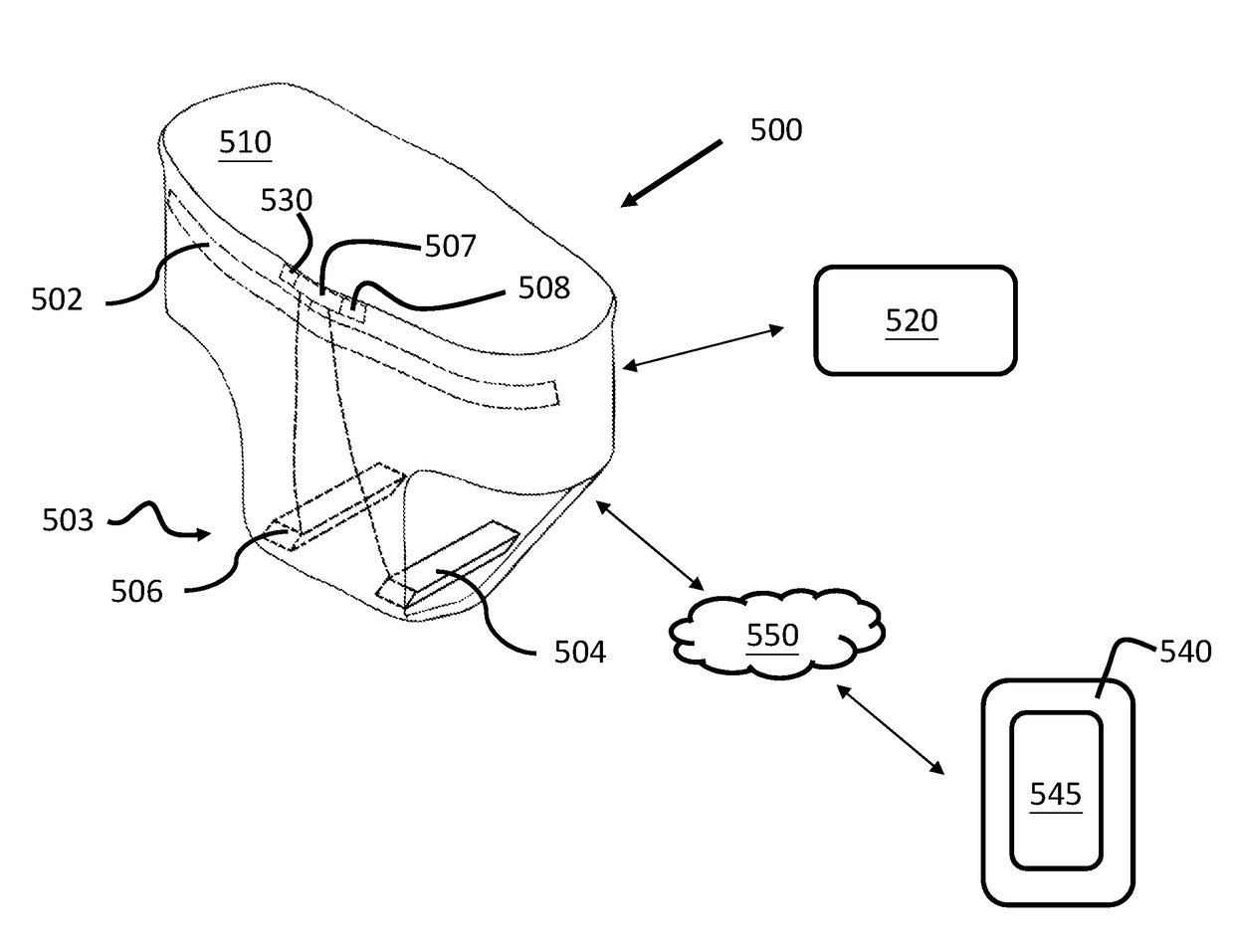
Device for detecting fullness of bladder
授权日:
2019-03-19
公开(公告)号:
US10231640
申请日:
2016-02-26
公开(公告)日:
2019-03-19
当前申请(专利权)人:
CHAN, KA WING
发明人:
CHAN, KA WING
简单同族:
US10231640 | US20160174866A1
简单同族成员数量:
2
简单同族被引用专利总数:
5
诉讼案件数:
0
法律状态/事件:
授权