标题:
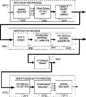
Signal decomposition, analysis and reconstruction
授权日:
2015-12-08
公开(公告)号:
US9209782
申请日:
2013-02-12
公开(公告)日:
2015-12-08
当前申请(专利权)人:
VIOS MEDICAL, INC.
发明人:
RICCI, CARLOS A. | KOVTUN, VLADIMIR V.
简单同族:
US20060200034A1 | US20060200035A1 | US20100195770A1 | US20110313760A1 | US20130282339A1 | US20160087603A1 | US7702502 | US7706992 | US8010347 | US8386244 | US9209782 | WO2006091636A2 | WO2006091636A3
简单同族成员数量:
13
简单同族被引用专利总数:
149
诉讼案件数:
0
法律状态/事件:
授权 | 权利转移