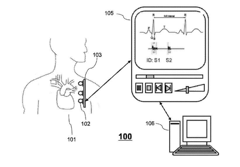
标题:
System and method of identification of the heart valve signals
授权日:
1900-01-01
公开(公告)号:
US20170188868A1
申请日:
2017-01-03
公开(公告)日:
2017-07-06
当前申请(专利权)人:
AVENTUSOFT, LLC.
发明人:
KALE, KAUSTUBH | GIRALDO, LUIS GONZALO SANCHEZ | PAVA, DIEGO | ESFAHANIAN, MAHDI
简单同族:
US10165985 | US10362997 | US10531839 | US20170188862A1 | US20170188866A1 | US20170188868A1 | US20170188869A1 | US20190133481A1 | US20190343466A1
简单同族成员数量:
9
简单同族被引用专利总数:
11
诉讼案件数:
0
法律状态/事件:
撤回