首页
专利数据库
产业人才
行业动态
产业政策法规
维权援助
个人中心
登录/注册
详情
文本
图像
标题:
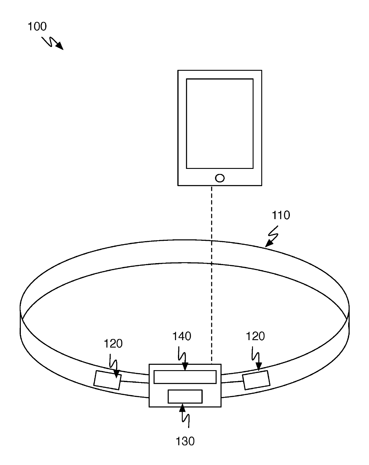
System and method communicating biofeedback to a user through a wearable device
授权日:
2019-05-07
公开(公告)号:
US10284924
申请日:
2017-05-29
公开(公告)日:
2019-05-07
当前申请(专利权)人:
ZENSO, INC.
发明人:
DIXIT, ROHAN
简单同族:
US10284924 | US20160234572A1 | US20170258328A1 | US20190253773A1 | US9699528 | WO2016127157A1
简单同族成员数量:
6
简单同族被引用专利总数:
7
诉讼案件数:
0
法律状态/事件:
授权 | 权利转移