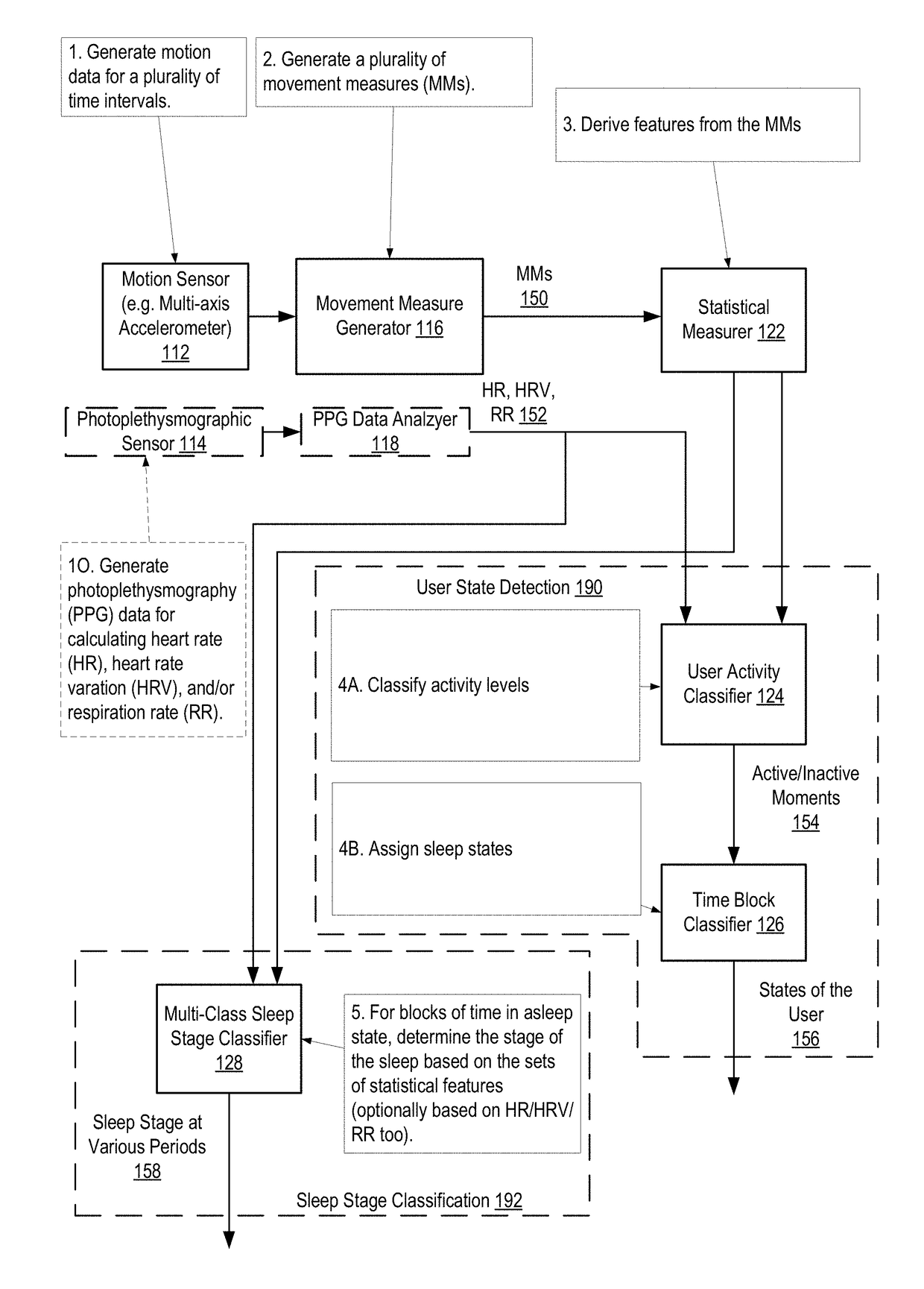
标题:
Automatic detection of user's periods of sleep and sleep stage
授权日:
1900-01-01
公开(公告)号:
US20190038185A1
申请日:
2018-08-08
公开(公告)日:
2019-02-07
当前申请(专利权)人:
FITBIT, INC.
发明人:
ARNOLD, JACOB ANTONY | VENKATRAMAN, SUBRAMANIAM
简单同族:
CN105446480A | CN105446480B | CN110083236A | CN110083237A | US10092219 | US20160007934A1 | US20160022175A1 | US20160022201A1 | US20160022203A1 | US20190038185A1 | US9675281 | US9808185
简单同族成员数量:
12
简单同族被引用专利总数:
65
诉讼案件数:
0
法律状态/事件:
实质审查 | 权利转移