首页
专利数据库
产业人才
行业动态
产业政策法规
维权援助
个人中心
登录/注册
详情
文本
图像
标题:
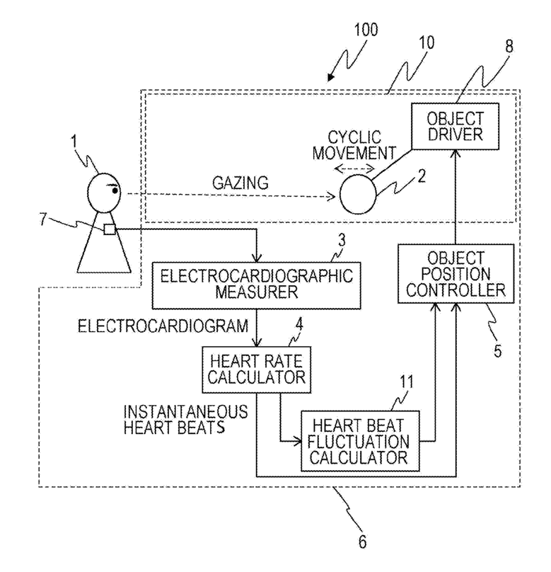
Method of using autonomic nerve fluctuations and system using the same
授权日:
1900-01-01
公开(公告)号:
US20170258396A1
申请日:
2017-02-24
公开(公告)日:
2017-09-14
当前申请(专利权)人:
PANASONIC INTELLECTUAL PROPERTY MANAGEMENT CO., LTD.
发明人:
SAKAI, MASAHIRO
简单同族:
JP2017164491A | US10646158 | US20170258396A1
简单同族成员数量:
3
简单同族被引用专利总数:
0
诉讼案件数:
0
法律状态/事件:
授权 | 权利转移