标题:
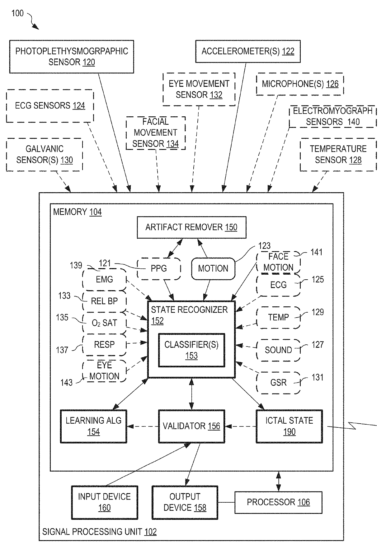
System and method for identifying ictal states in a patient
授权日:
2019-11-26
公开(公告)号:
US10485471
申请日:
2017-01-06
公开(公告)日:
2019-11-26
当前申请(专利权)人:
THE TRUSTEES OF DARTMOUTH COLLEGE
发明人:
RAY, LAURA | SATURLEY-HALL, HARRISON KING | LEVER, JIM | TAYLOR, SUSAN | KOBYLARZ, ERIK | AZAD, SEYED MAHDI BASIRI | BAJPAI, DVIJ | BUTLER, REBECCA | SRIDHAR, LATIKA
简单同族:
US10485471 | US20170196497A1
简单同族成员数量:
2
简单同族被引用专利总数:
6
诉讼案件数:
0
法律状态/事件:
授权