标题:
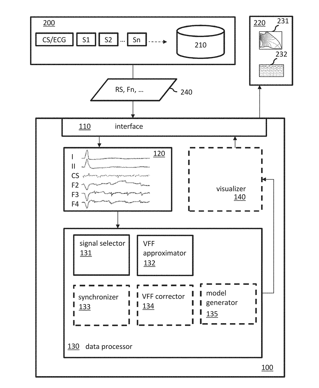
Method and system for determining ventricular far field contribution in atrial electrograms
授权日:
1900-01-01
公开(公告)号:
US20190059765A1
申请日:
2018-08-23
公开(公告)日:
2019-02-28
当前申请(专利权)人:
KARLSRUHE INSTITUTE OF TECHNOLOGY
发明人:
OESTERLEIN, TOBIAS | DOSSEL, OLAF | FRISCH, DANIEL | LOEWE, AXEL | LENIS, GUSTAVO | PILIA, NICOLAS
简单同族:
EP3446628A1 | US20190059765A1
简单同族成员数量:
2
简单同族被引用专利总数:
0
诉讼案件数:
0
法律状态/事件:
实质审查 | 权利转移