首页
专利数据库
产业人才
行业动态
产业政策法规
维权援助
个人中心
登录/注册
详情
文本
图像
标题:
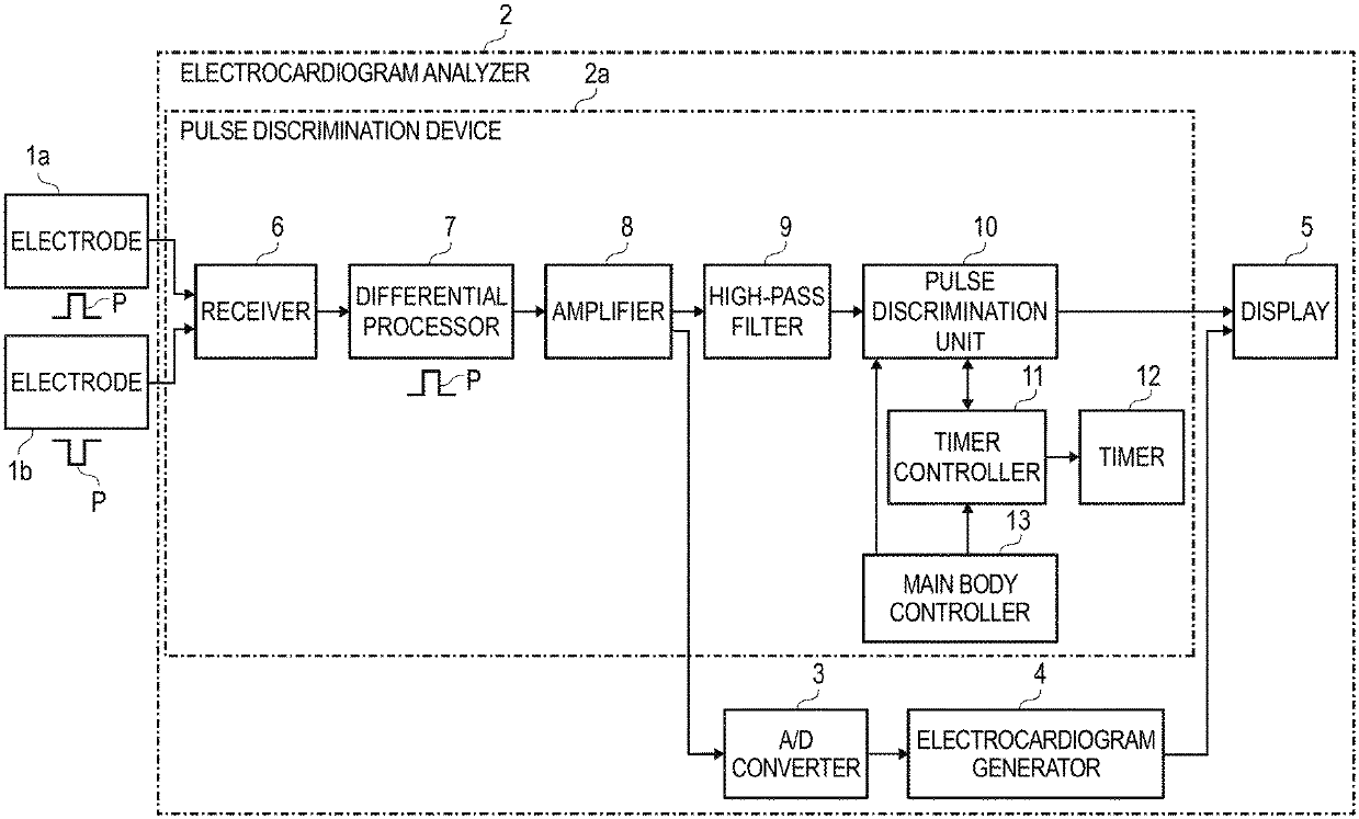
Pulse discrimination device and electrocardiogram analyzer
授权日:
1900-01-01
公开(公告)号:
US20200093391A1
申请日:
2019-09-17
公开(公告)日:
2020-03-26
当前申请(专利权)人:
NIHON KOHDEN CORPORATION
发明人:
KOYANAGI, TAKASHI | IINUMA, KAZUTORA | KUBO, HIROSHI
简单同族:
JP2020048713A | US20200093391A1
简单同族成员数量:
2
简单同族被引用专利总数:
0
诉讼案件数:
0
法律状态/事件:
公开 | 权利转移