标题:
Systems and methods to infer brain state during burst suppression
授权日:
2019-08-20
公开(公告)号:
US10383574
申请日:
2014-06-27
公开(公告)日:
2019-08-20
当前申请(专利权)人:
THE GENERAL HOSPITAL CORPORATION
发明人:
PURDON, PATRICK L. | BROWN, EMERY N. | LEWIS, LAURA D. | WESTOVER, BRANDON M. | CHING, SHINUNG
简单同族:
US10383574 | US20150011907A1 | US20200170575A1 | WO2014210527A1
简单同族成员数量:
4
简单同族被引用专利总数:
151
诉讼案件数:
0
法律状态/事件:
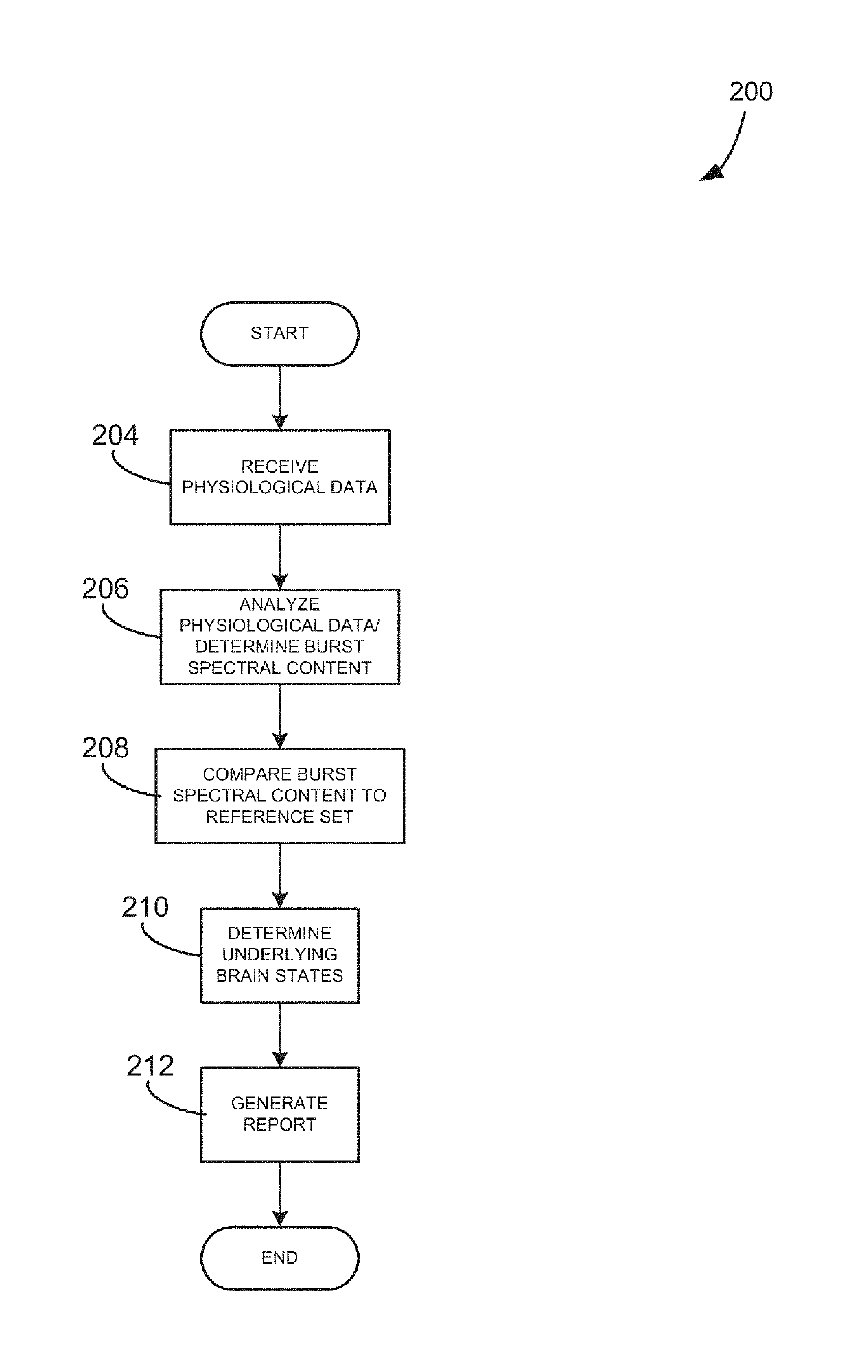
授权 | 许可 | 权利转移