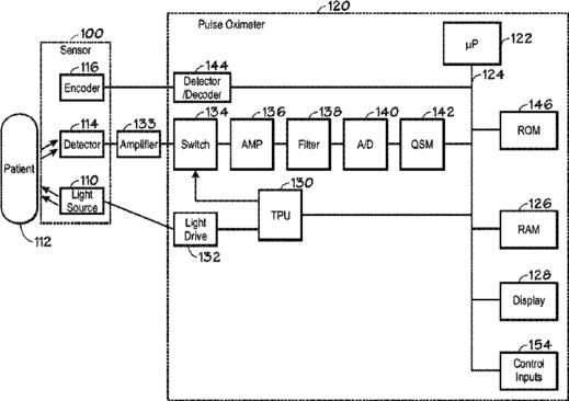
标题:
Method for enhancing pulse oximetry calculations in the presence of correlated artifacts
授权日:
2016-05-31
公开(公告)号:
US9351674
申请日:
2014-08-04
公开(公告)日:
2016-05-31
当前申请(专利权)人:
COVIDIEN LP
发明人:
BAKER, JR., CLARK R.
简单同族:
EP1919351A1 | US20060200015A1 | US20080255436A1 | US20130217987A1 | US20140343385A1 | US7392075 | US8423109 | US8818475 | US9351674 | WO2006094215A1
简单同族成员数量:
10
简单同族被引用专利总数:
69
诉讼案件数:
0
法律状态/事件:
授权 | 权利转移