首页
专利数据库
产业人才
行业动态
产业政策法规
维权援助
个人中心
登录/注册
详情
文本
图像
标题:
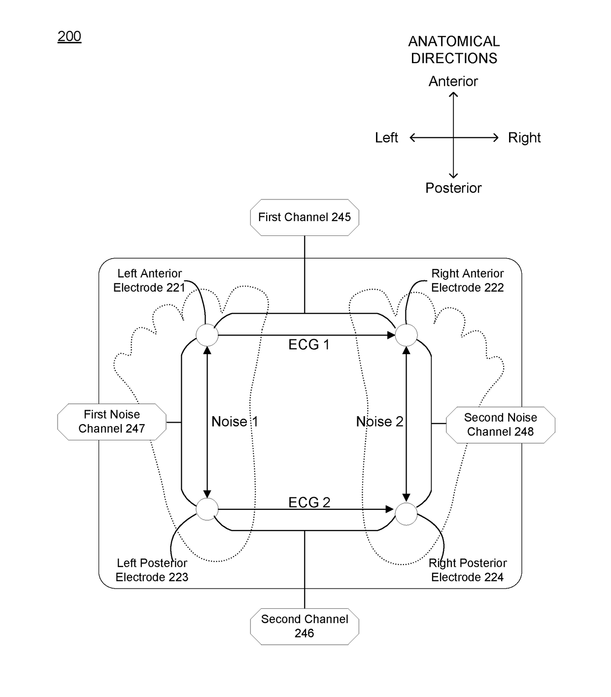
Cardiovascular signal acquisition, fusion, and noise mitigation
授权日:
1900-01-01
公开(公告)号:
US20190046064A1
申请日:
2018-10-17
公开(公告)日:
2019-02-14
当前申请(专利权)人:
BODYPORT INC.
发明人:
CENTEN, COREY JAMES | SMITH, SARAH ANN | PATEL, SARIN
简单同族:
US20190046064A1
简单同族成员数量:
1
简单同族被引用专利总数:
0
诉讼案件数:
0
法律状态/事件:
实质审查 | 权利转移