首页
专利数据库
产业人才
行业动态
产业政策法规
维权援助
个人中心
登录/注册
详情
文本
图像
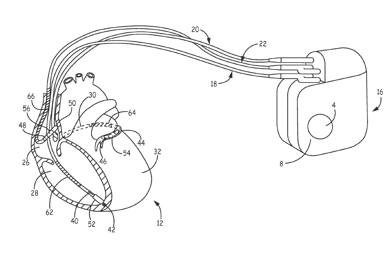
标题:
Electrogram summary
授权日:
2019-04-09
公开(公告)号:
US10251573
申请日:
2014-02-24
公开(公告)日:
2019-04-09
当前申请(专利权)人:
MEDTRONIC, INC.
发明人:
OUSDIGIAN, KEVIN T | LAUER, JOEL R | RICHARDSON, ADAM C
简单同族:
US10251573 | US20140330147A1 | WO2014179711A1
简单同族成员数量:
3
简单同族被引用专利总数:
0
诉讼案件数:
0
法律状态/事件:
授权 | 权利转移