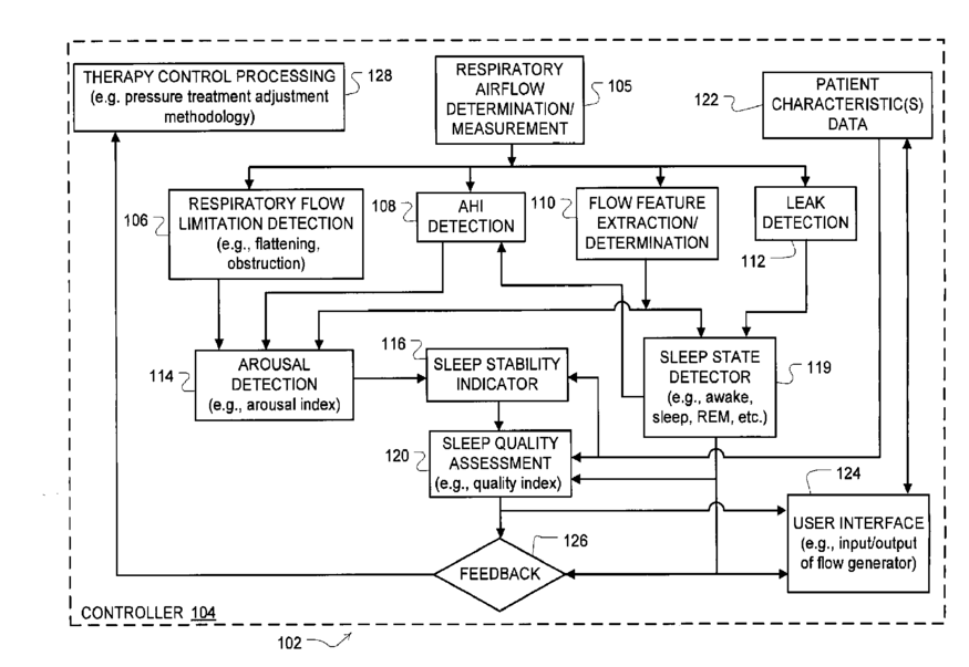
标题:
Detection of sleep condition
授权日:
1900-01-01
公开(公告)号:
US20170258365A1
申请日:
2017-05-18
公开(公告)日:
2017-09-14
当前申请(专利权)人:
RESMED PTY LTD
发明人:
RAMANAN, DINESH | ARMITSTEAD, JEFFREY PETER
简单同族:
AU2010273173A1 | AU2010273173B2 | CN102665546A | CN102665546B | CN105342563A | CN105342563B | CN109998482A | EP2453794A1 | EP2453794A4 | EP2453794B1 | EP3205267A1 | JP2012532703A | JP2012532703A5 | JP2016005590A | JP2017164507A | JP2019048081A | JP5798553B2 | JP6122472B2 | JP6423912B2 | NZ596452A | NZ596452B | NZ615010A | NZ615010B | NZ702309A | NZ702309B | NZ719495A | NZ719495B | NZ735906A | NZ735906B | US20120179061A1 | US20170258365A1 | US9687177 | WO2011006199A1
简单同族成员数量:
33
简单同族被引用专利总数:
147
诉讼案件数:
0
法律状态/事件:
实质审查 | 权利转移