首页
专利数据库
产业人才
行业动态
产业政策法规
维权援助
个人中心
登录/注册
详情
文本
图像
标题:
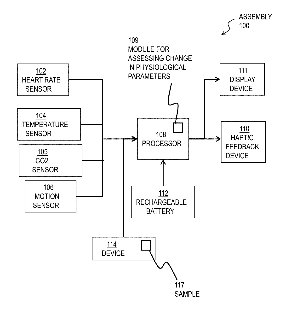
System and method for automatically monitoring physiological parameters of a subject
授权日:
1900-01-01
公开(公告)号:
US20190133496A1
申请日:
2018-11-05
公开(公告)日:
2019-05-09
当前申请(专利权)人:
INSPIRED PERFORMANCE INSTITUTE, INC.
发明人:
WOOD, DONALD A.
简单同族:
US20190133496A1
简单同族成员数量:
1
简单同族被引用专利总数:
0
诉讼案件数:
0
法律状态/事件:
实质审查 | 权利转移