标题:
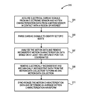
Method and system to identify motion data associated with consistent electrical and mechanical behavior for a region of interest
授权日:
2017-11-14
公开(公告)号:
US9814406
申请日:
2014-09-05
公开(公告)日:
2017-11-14
当前申请(专利权)人:
PACESETTER, INC.
发明人:
RAZAVI, HODA | QU, FUJIAN | RYU, KYUNGMOO | NABUTOVSKY, YELENA
简单同族:
US20150141765A1 | US9814406
简单同族成员数量:
2
简单同族被引用专利总数:
15
诉讼案件数:
0
法律状态/事件:
授权 | 权利转移