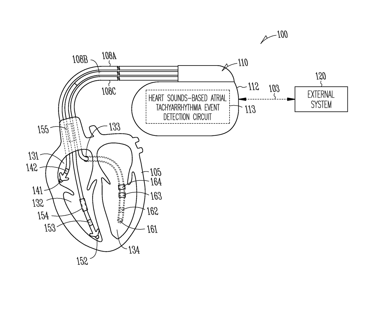
标题:
Systems and methods for detecting atrial tachyarrhythmia using heart sounds
授权日:
2019-01-22
公开(公告)号:
US10182735
申请日:
2016-10-27
公开(公告)日:
2019-01-22
当前申请(专利权)人:
CARDIAC PACEMAKERS, INC.
发明人:
THAKUR, PRAMODSINGH HIRASINGH | MI, BIN | SIMMS, JR., HOWARD D. | AN, QI | HATLESTAD, JOHN D. | MAILE, KEITH R.
简单同族:
CN108471968A | EP3367894A1 | EP3367894B1 | US10182735 | US20170119273A1 | US20190104959A1 | WO2017075160A1
简单同族成员数量:
7
简单同族被引用专利总数:
5
诉讼案件数:
0
法律状态/事件:
授权 | 权利转移