首页
专利数据库
产业人才
行业动态
产业政策法规
维权援助
个人中心
登录/注册
详情
文本
图像
标题:
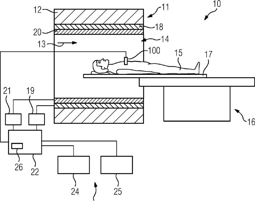
Determining temperature with the aid of an intervention apparatus
授权日:
1900-01-01
公开(公告)号:
US20160324424A1
申请日:
2016-05-05
公开(公告)日:
2016-11-10
当前申请(专利权)人:
SIEMENS HEALTHCARE GMBH
发明人:
HENGERER, ARNE | MATSCHL, VOLKER | REQUARDT, MARTIN | SCHNEIDER, RAINER
简单同族:
DE102015208420A1 | US20160324424A1
简单同族成员数量:
2
简单同族被引用专利总数:
0
诉讼案件数:
0
法律状态/事件:
撤回 | 权利转移